宝鸡市宝昊石油机械设备有限公司
办公地址:陕西省宝鸡市金台区宝虢路鹏博财富中心6号楼1801室
工厂地址:陕西省宝鸡市金河工业园
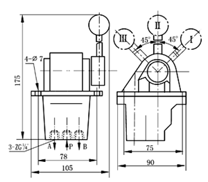
34JR6 L8 气动调节阀
特征:
1.34JR6 L8气动调节阀采用截止设计,切换快速,响应和流量特性特别好。
2、由于截止换向阀控制力较大,采用气动活塞、偏心凸轮的方式,阀芯控制力较小。

技术参数
模型 | 34JR6 |
公称通径 | 8毫米 |
有效截面积S值 | 20平方毫米 |
工作压力 | 1.00兆帕 |
泄漏率 溢出 | 0Nml/分钟 |
工作温度 | -40-60度 |
耐用性 | 200万次 |
热门标签: 34jr6 l8气动控制阀,中国,制造商,供应商,工厂,批发,定制,批量,低价,有现货